Mexen Helios radiateur de salle de bain 800 x 500 mm, 301 W, doré - W103-0800-500-00-50

Mexen Helios radiateur de salle de bain 800 x 500 mm, 301 W, doré - W103-0800-500-00-50

Mexen Helios radiateur de salle de bain 800 x 500 mm, 301 W, doré - W103-0800-500-00-50
search
  • Mexen Helios radiateur de salle de bain 800 x 500 mm, 301 W, doré - W103-0800-500-00-50
  • Mexen Helios radiateur de salle de bain 800 x 500 mm, 301 W, doré - W103-0800-500-00-50
  • Mexen Helios radiateur de salle de bain 800 x 500 mm, 301 W, doré - W103-0800-500-00-50
  • Mexen Helios radiateur de salle de bain 800 x 500 mm, 301 W, doré - W103-0800-500-00-50
  • Mexen Helios radiateur de salle de bain 800 x 500 mm, 301 W, doré - W103-0800-500-00-50
  • Mexen Helios radiateur de salle de bain 800 x 500 mm, 301 W, doré - W103-0800-500-00-50
  • Mexen Helios radiateur de salle de bain 800 x 500 mm, 301 W, doré - W103-0800-500-00-50
Mexen Helios radiateur de salle de bain 800 x 500 mm, 301 W, doré - W103-0800-500-00-50
Mexen Helios radiateur de salle de bain 800 x 500 mm, 301 W, doré - W103-0800-500-00-50 Mexen Helios radiateur de salle de bain 800 x 500 mm, 301 W, doré - W103-0800-500-00-50 Mexen Helios radiateur de salle de bain 800 x 500 mm, 301 W, doré - W103-0800-500-00-50 Mexen Helios radiateur de salle de bain 800 x 500 mm, 301 W, doré - W103-0800-500-00-50 Mexen Helios radiateur de salle de bain 800 x 500 mm, 301 W, doré - W103-0800-500-00-50 Mexen Helios radiateur de salle de bain 800 x 500 mm, 301 W, doré - W103-0800-500-00-50 Mexen Helios radiateur de salle de bain 800 x 500 mm, 301 W, doré - W103-0800-500-00-50
Acier Acier
Max. 0,6 Mpa Max. 0,6 Mpa
Max. 95°C Max. 95°C
Marque:
Série:
Ean:
5905315071552
Index:
W103-0800-500-00-50
Hauteur:
800 mm
Couleur:
Or
Largeur:
500 mm
Puissance de chauffage:
301 W
Largeur - 500 mm - ()
Couleur - Or - ()

Mexen Helios radiateur de salle de bain 800 x 500 mm, 301 W, doré - W103-0800-500-00-50

Mexen Helios est un radiateur de salle de bain élégant de couleur dorée, dimensions 800 x 500 mm. Fabriqué en acier durable, il offre une haute puissance thermique de 301 W à une température de 75/65/20 °C. Le radiateur possède une résistance au feu de classe A1 et une pression de service maximale de 0,6 MPa, garantissant une utilisation sûre. Sa température de fonctionnement maximale est de 95 °C. Grâce à quatre raccordements ½″, il est polyvalent à installer. Le set comprend des crochets, un kit de montage et un purgeur. Un excellent revêtement protège contre la corrosion, et la possibilité d'installer une résistance augmente la fonctionnalité du produit.

Données techniques :

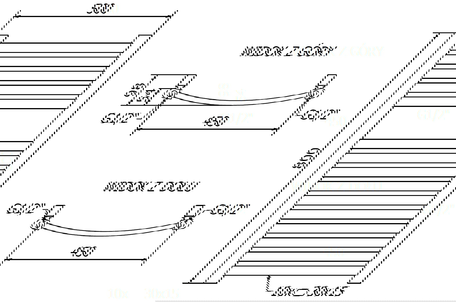
Hauteur : 800 mm

Largeur : 500 mm

Profondeur : 54 mm

Entraxe de raccordement : 45 cm 

Couleur : Doré

Matériau : Acier

Poids : 6,67 kg

Capacité : 3,5 l

Réaction au feu : A1

Température de fonctionnement : max 95 °C 

Pression de service maximale : 0,6 Mpa

Puissance thermique :

- 75/65/20 °C - 301 W

Raccordements :

- 4xG ½″ en haut et en bas à droite ou à gauche

Possibilité d'installation d'une résistance

Revêtement de haute qualité, durable et résistant à la corrosion

Inclus : supports, kit de montage, bouchons d'étanchéité et purgeur

Solutions innovantes utilisées dans ce produit

Acier

Le produit est fabriqué en acier doux de haute qualité, qui non seulement influence la longévité de l'appareil et sa résistance à la corrosion, mais permet également de chauffer rapidement la pièce et assure le confort thermique des utilisateurs.

Max. 0,6 Mpa

La pression de service maximale est de 0,6 Mpa (6 bars). Cela signifie que le radiateur peut fonctionner en toute sécurité et efficacement dans des conditions d'utilisation standard. Il assure un confort thermique optimal et une température agréable dans la pièce.

Max. 95°C

La température maximale atteinte par le radiateur pendant le fonctionnement est de 95°C. Cela permet de chauffer efficacement et de manière efficiente la pièce, tout en assurant la sécurité des utilisateurs et des surfaces entourant le radiateur.

Résistance à l'opacification et à la corrosion

Produit fabriqué à partir de matériaux de haute qualité résistants à l'opacification et à la corrosion, ce qui lui permet de conserver son aspect attrayant et sa fonctionnalité pendant longtemps, indépendamment du niveau d'humidité dans la pièce.

10 ans de garantie

Le produit est couvert par une garantie de 10 ans. En cas de problème avec le produit acheté, nous vous encourageons à nous contacter via le formulaire de contact ou par téléphone au numéro de la hotline.

Série
Largeur
500 mm
Hauteur
800 mm
Type
Puissance de chauffage
301 W
Couleur
Or
Matériau
Acier
Solidité du montage
Universelle
Profondeur
54 mm
Entraxe
45 cm
Connexion
Inférieure
Orientation
Verticale
Conditions de garantie
Informations sur la sécurité
Mode d'emploi
Fabricant

Vous n'avez pas trouvé la réponse?

Écrivez-nous

Mexen Helios radiateur de salle de bain 800 x 500 mm, 301 W, doré - W103-0800-500-00-50

Mexen Helios radiateur de salle de bain 800 x 500 mm, 301 W, doré - W103-0800-500-00-50

Prix catalogue : 235,40 €

188,39 € (TTC)

Moins cher 47,01 €

19,97%

Prix ​​le plus bas des 30 derniers jours: 188,39 €

Acier Acier
Max. 0,6 Mpa Max. 0,6 Mpa
Max. 95°C Max. 95°C
Marque:
Série:
Ean:
5905315071552
Index:
W103-0800-500-00-50
Hauteur:
800 mm
Couleur:
Or
Largeur:
500 mm
Puissance de chauffage:
301 W
Largeur - 500 mm - ()
Couleur - Or - ()
Chargement...