Mexen Rico staande wc-pot Rimless met slanke, softclose duroplast zitting, wit glanzend - 32724000
^ array:2 [
  "external" => array:1 [
    "adyen-component-js" => array:7 [
      "id" => "adyen-component-js"
      "type" => "external"
      "path" => "https://mexen.be"
      "uri" => "https://mexen.be"
      "priority" => 50
      "attribute" => ""
      "server" => "remote"
    ]
  ]
  "inline" => []
]

Mexen Rico staande wc-pot Rimless met slanke, softclose duroplast zitting, wit glanzend - 32724000

Mexen Rico staande wc-pot Rimless met slanke, softclose duroplast zitting, wit glanzend - 32724000
search
  • Mexen Rico staande wc-pot Rimless met slanke, softclose duroplast zitting, wit glanzend - 32724000
  • Mexen Rico staande wc-pot Rimless met slanke, softclose duroplast zitting, wit glanzend - 32724000
Mexen Rico staande wc-pot Rimless met slanke, softclose duroplast zitting, wit glanzend - 32724000
Mexen Rico staande wc-pot Rimless met slanke, softclose duroplast zitting, wit glanzend - 32724000 Mexen Rico staande wc-pot Rimless met slanke, softclose duroplast zitting, wit glanzend - 32724000
Keramiek+ Keramiek+
Randloos Randloos
Duroplast Duroplast
Merk:
Seria:
Ean:
5905315983794
Index:
32724000
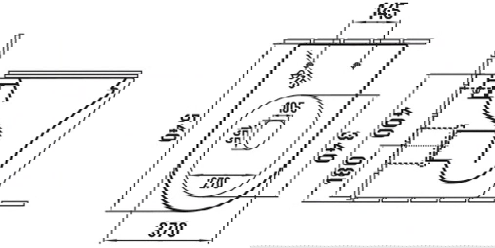
Lengte:
54 cm
Breedte:
37 cm
Montage:
Staand
Hoogte:
40 cm
Kleur - Wit - ()
Oppervlakte - Glans - ()

Mexen Rico staande wc-pot Rimless met slanke, softclose duroplast zitting, wit glanzend - 32724000

Productspecificatie:

Afmeting: 54x37x40 cm

Montage: Staand

Spoelsysteem: Rimless (randloos)

Kleur: Wit glanzend

Materiaal: Sanitair keramiek

Type zitting: Softclose

Kleur: Wit glanzend

Materiaal: Duroplast

Slanke versie: Ja

Eenvoudig afneembaar: Ja

Metalen scharnieren: Ja

Innovatieve oplossingen die in dit product worden gebruikt

Keramiek+

Dit product is gemaakt van keramiek van de hoogste kwaliteit, is bestand tegen roest en chemicaliën en beschikt over uitstekende hygiënische eigenschappen. Het is niet alleen duurzaam, maar ook gemakkelijk schoon te maken.

Randloos

Randloze technologie zorgt voor een nauwkeurige waterverdeling in de toiletpot, wat bijdraagt ​​aan effectief doorspoelen. Het randloze systeem helpt het toilet schoon te houden door bacteriegroei te voorkomen.

Duroplast

Duroplast-terrasplanken kenmerken zich door een hoge duurzaamheid en weerstand tegen beschadigingen en dagelijkse slijtage. Het gebruik van duroplast zorgt voor een comfortabel gebruik en behoudt de esthetische uitstraling van het product langdurig.

Zacht sluitende plaat

De softclose toiletbril is uitgerust met een speciaal systeem dat voorkomt dat de bril te snel en abrupt sluit. Dit systeem voorkomt effectief het dichtslaan van de bril en minimaliseert het geluid, waardoor het toilet soepel en stil sluit.

Gemakkelijk te verwijderen

Het easy-release zittingsysteem maakt het gemakkelijk om een ​​perfecte reinheid en een hoge mate van hygiëne in het toilet te behouden. Het maakt het regelmatig schoonmaken van de zitting en de moeilijk bereikbare plekken eromheen veel gemakkelijker en handiger.

Dun

Een dunne toiletzitting met een uitzonderlijk ergonomische vorm en een ongelooflijk slank uiterlijk. Het ontwerp past perfect bij moderne badkamerinterieurs en creëert een gevoel van lichtheid. Een uitstekende keuze voor minimalistische ontwerpen.

Metalen scharnieren

De set is voorzien van stevige metalen scharnieren die zorgen voor een stabiele bevestiging van de zitting aan de toiletpot. Deze praktische oplossing maakt het mogelijk de zitting eenvoudig aan te passen aan de vorm en afmetingen van het toilet, voor optimaal gebruik.

Glans

Glanzend keramiek is elegant en tijdloos. Het geeft de badkamer een unieke glans, versterkt de esthetiek en voegt een vleugje elegantie toe aan het interieur. De glans reflecteert licht en creëert een gevoel van ruimtelijkheid en helderheid.

UV-bescherming

Het product is zeer goed bestand tegen temperatuurschommelingen en uv-straling. De kleur verkleurt of verbleekt niet in zonlicht, waardoor het er onder alle omstandigheden lang mooi uitziet.

Weerstand tegen dof worden

Het oppervlak van het product is bestand tegen dof worden en behoudt zijn uitzonderlijke glans jarenlang, mits het goed wordt onderhouden. Regelmatig reinigen zorgt voor een esthetische uitstraling en duurzaamheid van het product.

PerfectSchoon

Het product heeft een glad oppervlak dat indruk maakt met zijn glans en de esthetische aantrekkingskracht vergroot. Dagelijks onderhoud en reiniging van het oppervlak is veel eenvoudiger en vereist geen gebruik van sterke reinigingsmiddelen.

2 jaar garantie

Op dit product zit 2 jaar garantie. Mocht u problemen ondervinden met uw aankoop, neem dan contact met ons op via het contactformulier of bel onze hotline.

Serie
Lengte
54 cm
Breedte
37 cm
Hoogte
40 cm
Kleur
Wit
Oppervlakte
Glans
Vorm
Ovaal
In de set
Wc-pot + zitting
Zonder kraag
Ja
Montage
Staand
Beschermende coating
Ja
Spoelsysteem
Randloos
Garantievoorwaarden
Producent

Heb je het antwoord niet gevonden?

Schrijf ons

Mexen Rico staande wc-pot Rimless met slanke, softclose duroplast zitting, wit glanzend - 32724000

Mexen Rico staande wc-pot Rimless met slanke, softclose duroplast zitting, wit glanzend - 32724000

Catalogusprijs: € 228,30

€ 182,69 (incl. btw)

Goedkoper met€ 45,61

19,98%

Keramiek+ Keramiek+
Randloos Randloos
Duroplast Duroplast
Merk:
Seria:
Ean:
5905315983794
Index:
32724000
Lengte:
54 cm
Breedte:
37 cm
Montage:
Staand
Hoogte:
40 cm
Kleur - Wit - ()
Oppervlakte - Glans - ()
^ array:2 [
  "external" => array:57 [
    "corejs" => array:7 [
      "id" => "corejs"
      "type" => "external"
      "path" => "https://mexen.be/themes/core.js"
      "uri" => "https://mexen.be/themes/core.js"
      "priority" => 0
      "attribute" => ""
      "server" => "remote"
    ]
    "theme-runtime" => array:7 [
      "id" => "theme-runtime"
      "type" => "external"
      "path" => "https://mexen.be"
      "uri" => "https://mexen.be"
      "priority" => 1
      "attribute" => ""
      "server" => "remote"
    ]
    "theme-swipervendor" => array:7 [
      "id" => "theme-swipervendor"
      "type" => "external"
      "path" => "https://mexen.be/themes/falcon/assets/js/swipervendor.js"
      "uri" => "https://mexen.be/themes/falcon/assets/js/swipervendor.js"
      "priority" => 1
      "attribute" => ""
      "server" => "remote"
    ]
    "modules-pdpinterestpixeltracking-front" => array:7 [
      "id" => "modules-pdpinterestpixeltracking-front"
      "type" => "external"
      "path" => "https://mexen.be/themes/falcon/modules/pdpinterestpixeltracking/views/js/scripts_17.js"
      "uri" => "https://mexen.be/themes/falcon/modules/pdpinterestpixeltracking/views/js/scripts_17.js"
      "priority" => 1
      "attribute" => ""
      "server" => "remote"
    ]
    "jquery-ui" => array:7 [
      "id" => "jquery-ui"
      "type" => "external"
      "path" => "https://mexen.be/js/jquery/ui/jquery-ui.min.js"
      "uri" => "https://mexen.be/js/jquery/ui/jquery-ui.min.js"
      "priority" => 49
      "attribute" => ""
      "server" => "remote"
    ]
    "theme-main" => array:7 [
      "id" => "theme-main"
      "type" => "external"
      "path" => "https://mexen.be/themes/falcon/assets/js/theme.js"
      "uri" => "https://mexen.be/themes/falcon/assets/js/theme.js"
      "priority" => 50
      "attribute" => ""
      "server" => "remote"
    ]
    "front-js" => array:7 [
      "id" => "front-js"
      "type" => "external"
      "path" => "https://mexen.be/modules/blockreassurance/views/dist/front.js"
      "uri" => "https://mexen.be/modules/blockreassurance/views/dist/front.js"
      "priority" => 50
      "attribute" => ""
      "server" => "remote"
    ]
    "modules-psemailsubscription" => array:7 [
      "id" => "modules-psemailsubscription"
      "type" => "external"
      "path" => "https://mexen.be/modules/ps_emailsubscription/views/js/ps_emailsubscription.js"
      "uri" => "https://mexen.be/modules/ps_emailsubscription/views/js/ps_emailsubscription.js"
      "priority" => 50
      "attribute" => ""
      "server" => "remote"
    ]
    "mailalerts-js" => array:7 [
      "id" => "mailalerts-js"
      "type" => "external"
      "path" => "https://mexen.be/themes/falcon/modules/ps_emailalerts/js/mailalerts.js"
      "uri" => "https://mexen.be/themes/falcon/modules/ps_emailalerts/js/mailalerts.js"
      "priority" => 50
      "attribute" => ""
      "server" => "remote"
    ]
    "p24-script-inside" => array:7 [
      "id" => "p24-script-inside"
      "type" => "external"
      "path" => "https://mexen.be/modules/przelewy24/views/js/p24_inside.js"
      "uri" => "https://mexen.be/modules/przelewy24/views/js/p24_inside.js"
      "priority" => 50
      "attribute" => ""
      "server" => "remote"
    ]
    "p24-script-common" => array:7 [
      "id" => "p24-script-common"
      "type" => "external"
      "path" => "https://mexen.be/modules/przelewy24/views/js/przelewy24Common.js"
      "uri" => "https://mexen.be/modules/przelewy24/views/js/przelewy24Common.js"
      "priority" => 50
      "attribute" => ""
      "server" => "remote"
    ]
    "payu-js" => array:7 [
      "id" => "payu-js"
      "type" => "external"
      "path" => "https://mexen.be/modules/payu/js/payu17.js"
      "uri" => "https://mexen.be/modules/payu/js/payu17.js"
      "priority" => 50
      "attribute" => ""
      "server" => "remote"
    ]
    "ec5e2d2f4a58ac906d2c99a7aba2c512de86bd87" => array:7 [
      "id" => "ec5e2d2f4a58ac906d2c99a7aba2c512de86bd87"
      "type" => "external"
      "path" => "https://mexen.be/modules/facebookconversiontrackingplus/views/js/events.js"
      "uri" => "https://mexen.be/modules/facebookconversiontrackingplus/views/js/events.js"
      "priority" => 80
      "attribute" => ""
      "server" => "remote"
    ]
    "af58fb7945b30a5fc4dab0e3f308d9d946b57734" => array:7 [
      "id" => "af58fb7945b30a5fc4dab0e3f308d9d946b57734"
      "type" => "external"
      "path" => "https://mexen.be/modules/adyenofficial/views/js/front/adyen-product-express-checkout.js"
      "uri" => "https://mexen.be/modules/adyenofficial/views/js/front/adyen-product-express-checkout.js"
      "priority" => 80
      "attribute" => ""
      "server" => "remote"
    ]
    "40324f6bd2b2c27fcddaf455ddbd4fbe0eace026" => array:7 [
      "id" => "40324f6bd2b2c27fcddaf455ddbd4fbe0eace026"
      "type" => "external"
      "path" => "https://mexen.be/modules/adyenofficial/views/js/front/adyen-wallets-service.js"
      "uri" => "https://mexen.be/modules/adyenofficial/views/js/front/adyen-wallets-service.js"
      "priority" => 80
      "attribute" => ""
      "server" => "remote"
    ]
    "e63d14d12ea508a62c173717a73b09391f4a7c2a" => array:7 [
      "id" => "e63d14d12ea508a62c173717a73b09391f4a7c2a"
      "type" => "external"
      "path" => "https://mexen.be/modules/adyenofficial/views/js/front/adyen-checkout-controller.js"
      "uri" => "https://mexen.be/modules/adyenofficial/views/js/front/adyen-checkout-controller.js"
      "priority" => 80
      "attribute" => ""
      "server" => "remote"
    ]
    "27e5ba8465ba66c21c0a8ed5835ee4da37f6ca16" => array:7 [
      "id" => "27e5ba8465ba66c21c0a8ed5835ee4da37f6ca16"
      "type" => "external"
      "path" => "https://mexen.be/modules/adyenofficial/views/js/front/adyen-payment-additional-action.js"
      "uri" => "https://mexen.be/modules/adyenofficial/views/js/front/adyen-payment-additional-action.js"
      "priority" => 80
      "attribute" => ""
      "server" => "remote"
    ]
    "a21fd9c7406730ff77e15acac075218055320b50" => array:7 [
      "id" => "a21fd9c7406730ff77e15acac075218055320b50"
      "type" => "external"
      "path" => "https://mexen.be/modules/ph_simpleblog/js/jquery.fitvids.js"
      "uri" => "https://mexen.be/modules/ph_simpleblog/js/jquery.fitvids.js"
      "priority" => 80
      "attribute" => ""
      "server" => "remote"
    ]
    "a5b8d595764f33918a1d68bad830e9fe1c3a480a" => array:7 [
      "id" => "a5b8d595764f33918a1d68bad830e9fe1c3a480a"
      "type" => "external"
      "path" => "https://mexen.be/modules/ets_megamenu/views/js/megamenu.js"
      "uri" => "https://mexen.be/modules/ets_megamenu/views/js/megamenu.js"
      "priority" => 80
      "attribute" => ""
      "server" => "remote"
    ]
    "969f0bf4a5e0dc9f6f1aeb2c3ca213e8ff6904ce" => array:7 [
      "id" => "969f0bf4a5e0dc9f6f1aeb2c3ca213e8ff6904ce"
      "type" => "external"
      "path" => "https://mexen.be/modules/tpay/views/js/main.min.js"
      "uri" => "https://mexen.be/modules/tpay/views/js/main.min.js"
      "priority" => 80
      "attribute" => ""
      "server" => "remote"
    ]
    "2b7bddc05e8fec8fd1a70b08aab493ad7f1a8bc2" => array:7 [
      "id" => "2b7bddc05e8fec8fd1a70b08aab493ad7f1a8bc2"
      "type" => "external"
      "path" => "https://mexen.be/modules/tooltips/lib/tooltipster/js/tooltipster.bundle.min.js"
      "uri" => "https://mexen.be/modules/tooltips/lib/tooltipster/js/tooltipster.bundle.min.js"
      "priority" => 80
      "attribute" => ""
      "server" => "remote"
    ]
    "e15a7fd7011ef841ba8d874878596f8e26a1d814" => array:7 [
      "id" => "e15a7fd7011ef841ba8d874878596f8e26a1d814"
      "type" => "external"
      "path" => "https://mexen.be/modules/tooltips/views/js/tooltips.js"
      "uri" => "https://mexen.be/modules/tooltips/views/js/tooltips.js"
      "priority" => 80
      "attribute" => ""
      "server" => "remote"
    ]
    "2be523990f9410fbf1520b75a30699d34151451e" => array:7 [
      "id" => "2be523990f9410fbf1520b75a30699d34151451e"
      "type" => "external"
      "path" => "https://mexen.be/themes/falcon/modules/aapfree/views/aapfree.js"
      "uri" => "https://mexen.be/themes/falcon/modules/aapfree/views/aapfree.js"
      "priority" => 80
      "attribute" => ""
      "server" => "remote"
    ]
    "1c962c5d828e72fa6bb0fb91ea4a814d5e38104b" => array:7 [
      "id" => "1c962c5d828e72fa6bb0fb91ea4a814d5e38104b"
      "type" => "external"
      "path" => "https://mexen.be/modules/vatchecker/views/js/front.js"
      "uri" => "https://mexen.be/modules/vatchecker/views/js/front.js"
      "priority" => 80
      "attribute" => ""
      "server" => "remote"
    ]
    "6f9e05af0994ba3a7177b57ccea010aeef471bfb" => array:7 [
      "id" => "6f9e05af0994ba3a7177b57ccea010aeef471bfb"
      "type" => "external"
      "path" => "https://mexen.be/modules/ets_promotion/views/js/front.js"
      "uri" => "https://mexen.be/modules/ets_promotion/views/js/front.js"
      "priority" => 80
      "attribute" => ""
      "server" => "remote"
    ]
    "037601c9dbf5297e76b498c82c4992c4690a2080" => array:7 [
      "id" => "037601c9dbf5297e76b498c82c4992c4690a2080"
      "type" => "external"
      "path" => "https://mexen.be/modules/ets_promotion/views/js/jquery.countdown.min.js"
      "uri" => "https://mexen.be/modules/ets_promotion/views/js/jquery.countdown.min.js"
      "priority" => 80
      "attribute" => ""
      "server" => "remote"
    ]
    "5d49e842c3f848046f9f10a300f25a3b9629e0f4" => array:7 [
      "id" => "5d49e842c3f848046f9f10a300f25a3b9629e0f4"
      "type" => "external"
      "path" => "https://mexen.be/modules/ets_promotion/views/js/clock.js"
      "uri" => "https://mexen.be/modules/ets_promotion/views/js/clock.js"
      "priority" => 80
      "attribute" => ""
      "server" => "remote"
    ]
    "db14f557b8ddd01f23e1f839c9402405695c59fc" => array:7 [
      "id" => "db14f557b8ddd01f23e1f839c9402405695c59fc"
      "type" => "external"
      "path" => "https://mexen.be/modules/pixel_tiktoktracking/views/js/pixel_tiktoktracking.js"
      "uri" => "https://mexen.be/modules/pixel_tiktoktracking/views/js/pixel_tiktoktracking.js"
      "priority" => 80
      "attribute" => ""
      "server" => "remote"
    ]
    "cdff9867e8340c7b5dfcc82bb7185fec0c8a0fd7" => array:7 [
      "id" => "cdff9867e8340c7b5dfcc82bb7185fec0c8a0fd7"
      "type" => "external"
      "path" => "https://mexen.be/modules/pixel_producthistory/views/js/pixel_producthistory.js"
      "uri" => "https://mexen.be/modules/pixel_producthistory/views/js/pixel_producthistory.js"
      "priority" => 80
      "attribute" => ""
      "server" => "remote"
    ]
    "e7669587a88566d7c8a386864261ec5b8db60994" => array:7 [
      "id" => "e7669587a88566d7c8a386864261ec5b8db60994"
      "type" => "external"
      "path" => "https://mexen.be/modules/ets_reviews/views/js/slick.js"
      "uri" => "https://mexen.be/modules/ets_reviews/views/js/slick.js"
      "priority" => 80
      "attribute" => ""
      "server" => "remote"
    ]
    "ba02d6458d1f6d45a33b1781e1369b16a36bab45" => array:7 [
      "id" => "ba02d6458d1f6d45a33b1781e1369b16a36bab45"
      "type" => "external"
      "path" => "https://mexen.be/modules/ets_reviews/views/js/modal.js"
      "uri" => "https://mexen.be/modules/ets_reviews/views/js/modal.js"
      "priority" => 80
      "attribute" => ""
      "server" => "remote"
    ]
    "b408d6fdaf881f5b1a01145d4714be697a82d631" => array:7 [
      "id" => "b408d6fdaf881f5b1a01145d4714be697a82d631"
      "type" => "external"
      "path" => "https://mexen.be/js/jquery/plugins/growl/jquery.growl.js"
      "uri" => "https://mexen.be/js/jquery/plugins/growl/jquery.growl.js"
      "priority" => 80
      "attribute" => ""
      "server" => "remote"
    ]
    "6cfbb7387c3bd9764014a5efa581f87934e6eba1" => array:7 [
      "id" => "6cfbb7387c3bd9764014a5efa581f87934e6eba1"
      "type" => "external"
      "path" => "https://mexen.be/js/jquery/plugins/fancybox/jquery.fancybox.js"
      "uri" => "https://mexen.be/js/jquery/plugins/fancybox/jquery.fancybox.js"
      "priority" => 80
      "attribute" => ""
      "server" => "remote"
    ]
    "a0b748808474deddc7edabd7fb3cbec14a41c476" => array:7 [
      "id" => "a0b748808474deddc7edabd7fb3cbec14a41c476"
      "type" => "external"
      "path" => "https://mexen.be/modules/ets_reviews/views/js/jquery.rating.plugin.js"
      "uri" => "https://mexen.be/modules/ets_reviews/views/js/jquery.rating.plugin.js"
      "priority" => 80
      "attribute" => ""
      "server" => "remote"
    ]
    "bd3523585ace8158c0c2dc6c0251906acf6cc3a8" => array:7 [
      "id" => "bd3523585ace8158c0c2dc6c0251906acf6cc3a8"
      "type" => "external"
      "path" => "https://mexen.be/modules/ets_reviews/views/js/function.js"
      "uri" => "https://mexen.be/modules/ets_reviews/views/js/function.js"
      "priority" => 80
      "attribute" => ""
      "server" => "remote"
    ]
    "45e140e9169a5b17625bbab28424b9ef1a897320" => array:7 [
      "id" => "45e140e9169a5b17625bbab28424b9ef1a897320"
      "type" => "external"
      "path" => "https://mexen.be/modules/ets_reviews/views/js/list-comments.js"
      "uri" => "https://mexen.be/modules/ets_reviews/views/js/list-comments.js"
      "priority" => 80
      "attribute" => ""
      "server" => "remote"
    ]
    "68d1f8c1ff4c3641b607dd710bddcb2075addb8c" => array:7 [
      "id" => "68d1f8c1ff4c3641b607dd710bddcb2075addb8c"
      "type" => "external"
      "path" => "https://mexen.be/modules/ets_reviews/views/js/front.js"
      "uri" => "https://mexen.be/modules/ets_reviews/views/js/front.js"
      "priority" => 80
      "attribute" => ""
      "server" => "remote"
    ]
    "234fe24f2793c7599e27358b12abe700c56c7be4" => array:7 [
      "id" => "234fe24f2793c7599e27358b12abe700c56c7be4"
      "type" => "external"
      "path" => "https://mexen.be/modules/deliverycountdown/views/js/deliverycountdown.js"
      "uri" => "https://mexen.be/modules/deliverycountdown/views/js/deliverycountdown.js"
      "priority" => 80
      "attribute" => ""
      "server" => "remote"
    ]
    "module-cdproductcomparisonplusjquery-print" => array:7 [
      "id" => "module-cdproductcomparisonplusjquery-print"
      "type" => "external"
      "path" => "https://mexen.be/modules/cdproductcomparisonplus/views/js/jquery.print.js"
      "uri" => "https://mexen.be/modules/cdproductcomparisonplus/views/js/jquery.print.js"
      "priority" => 100
      "attribute" => ""
      "server" => "remote"
    ]
    "growl/jquery.growl.js" => array:7 [
      "id" => "growl/jquery.growl.js"
      "type" => "external"
      "path" => "https://mexen.be/js/jquery/plugins/growl/jquery.growl.js"
      "uri" => "https://mexen.be/js/jquery/plugins/growl/jquery.growl.js"
      "priority" => 100
      "attribute" => ""
      "server" => "remote"
    ]
    "fancybox/jquery.fancybox.js" => array:7 [
      "id" => "fancybox/jquery.fancybox.js"
      "type" => "external"
      "path" => "https://mexen.be/js/jquery/plugins/fancybox/jquery.fancybox.js"
      "uri" => "https://mexen.be/js/jquery/plugins/fancybox/jquery.fancybox.js"
      "priority" => 100
      "attribute" => ""
      "server" => "remote"
    ]
    "module-cdproductcomparisonplusfront" => array:7 [
      "id" => "module-cdproductcomparisonplusfront"
      "type" => "external"
      "path" => "https://mexen.be/modules/cdproductcomparisonplus/views/js/cdpcp-front.js"
      "uri" => "https://mexen.be/modules/cdproductcomparisonplus/views/js/cdpcp-front.js"
      "priority" => 102
      "attribute" => ""
      "server" => "remote"
    ]
    "modules-searchbar" => array:7 [
      "id" => "modules-searchbar"
      "type" => "external"
      "path" => "https://mexen.be/modules/ps_searchbar/ps_searchbar.js"
      "uri" => "https://mexen.be/modules/ps_searchbar/ps_searchbar.js"
      "priority" => 150
      "attribute" => ""
      "server" => "remote"
    ]
    "faqs_front" => array:7 [
      "id" => "faqs_front"
      "type" => "external"
      "path" => "https://mexen.be/modules/faqs/views/js/faq.js"
      "uri" => "https://mexen.be/modules/faqs/views/js/faq.js"
      "priority" => 150
      "attribute" => ""
      "server" => "remote"
    ]
    "faqs_form" => array:7 [
      "id" => "faqs_form"
      "type" => "external"
      "path" => "https://mexen.be/modules/faqs/views/js/faqs_form.js"
      "uri" => "https://mexen.be/modules/faqs/views/js/faqs_form.js"
      "priority" => 150
      "attribute" => ""
      "server" => "remote"
    ]
    "faqs_slick_js" => array:7 [
      "id" => "faqs_slick_js"
      "type" => "external"
      "path" => "https://mexen.be/modules/faqs/libraries/slick/slick.js"
      "uri" => "https://mexen.be/modules/faqs/libraries/slick/slick.js"
      "priority" => 150
      "attribute" => ""
      "server" => "remote"
    ]
    "modules-phsimpleblog" => array:7 [
      "id" => "modules-phsimpleblog"
      "type" => "external"
      "path" => "https://mexen.be/modules/ph_simpleblog/views/js/ph_simpleblog-17.js"
      "uri" => "https://mexen.be/modules/ph_simpleblog/views/js/ph_simpleblog-17.js"
      "priority" => 150
      "attribute" => ""
      "server" => "remote"
    ]
    "modules-phsimpleblog-masonry" => array:7 [
      "id" => "modules-phsimpleblog-masonry"
      "type" => "external"
      "path" => "https://mexen.be/modules/ph_simpleblog/js/masonry.pkgd.min.js"
      "uri" => "https://mexen.be/modules/ph_simpleblog/js/masonry.pkgd.min.js"
      "priority" => 150
      "attribute" => ""
      "server" => "remote"
    ]
    "module-pixel_tracking" => array:7 [
      "id" => "module-pixel_tracking"
      "type" => "external"
      "path" => "https://mexen.be/modules/pixel_tracking/views/js/pixel_tracking.js"
      "uri" => "https://mexen.be/modules/pixel_tracking/views/js/pixel_tracking.js"
      "priority" => 150
      "attribute" => ""
      "server" => "remote"
    ]
    "modules-x13favoriteproduct-toastify" => array:7 [
      "id" => "modules-x13favoriteproduct-toastify"
      "type" => "external"
      "path" => "https://mexen.be/modules/x13favoriteproduct/views/js/plugins/toastify.js"
      "uri" => "https://mexen.be/modules/x13favoriteproduct/views/js/plugins/toastify.js"
      "priority" => 150
      "attribute" => ""
      "server" => "remote"
    ]
    "modules-x13infobar-countdown" => array:7 [
      "id" => "modules-x13infobar-countdown"
      "type" => "external"
      "path" => "https://mexen.be/modules/x13infobar/views/js/countdown.js"
      "uri" => "https://mexen.be/modules/x13infobar/views/js/countdown.js"
      "priority" => 150
      "attribute" => ""
      "server" => "remote"
    ]
    "modules-x13infobar" => array:7 [
      "id" => "modules-x13infobar"
      "type" => "external"
      "path" => "https://mexen.be/modules/x13infobar/views/js/front.js"
      "uri" => "https://mexen.be/modules/x13infobar/views/js/front.js"
      "priority" => 150
      "attribute" => ""
      "server" => "remote"
    ]
    "modules-x13favoriteproduct" => array:7 [
      "id" => "modules-x13favoriteproduct"
      "type" => "external"
      "path" => "https://mexen.be/modules/x13favoriteproduct/views/js/front.js"
      "uri" => "https://mexen.be/modules/x13favoriteproduct/views/js/front.js"
      "priority" => 160
      "attribute" => ""
      "server" => "remote"
    ]
    "module-simattrs-js" => array:7 [
      "id" => "module-simattrs-js"
      "type" => "external"
      "path" => "https://mexen.be/modules/simattrs/simattrs.js"
      "uri" => "https://mexen.be/modules/simattrs/simattrs.js"
      "priority" => 200
      "attribute" => ""
      "server" => "remote"
    ]
    "theme-product" => array:7 [
      "id" => "theme-product"
      "type" => "external"
      "path" => "https://mexen.be/themes/falcon/assets/js/product.js"
      "uri" => "https://mexen.be/themes/falcon/assets/js/product.js"
      "priority" => 200
      "attribute" => ""
      "server" => "remote"
    ]
    "module-cdproductcomparisonplussharer" => array:7 [
      "id" => "module-cdproductcomparisonplussharer"
      "type" => "external"
      "path" => "https://mexen.be/modules/cdproductcomparisonplus/views/js/sharer.js"
      "uri" => "https://mexen.be/modules/cdproductcomparisonplus/views/js/sharer.js"
      "priority" => 200
      "attribute" => ""
      "server" => "remote"
    ]
    "theme-custom" => array:7 [
      "id" => "theme-custom"
      "type" => "external"
      "path" => "https://mexen.be"
      "uri" => "https://mexen.be"
      "priority" => 1000
      "attribute" => ""
      "server" => "remote"
    ]
  ]
  "inline" => []
]
Laden...